|
|
|
※ RV-2123-C2 は生産終息予定のため新規設計には非推奨になります。
新規設計には同じくSPIインターフェースの RV-8063-C7 をご検討ください。


●小型:5.0×3.2×1.2mm サイズで 水晶振動子内蔵
●SPIインターフェース(4線)
●電源電圧:+1.1〜+5.5V(時刻保持モード時)
●超消費電流:130nA Typ. @VDD=3.0V (@+25℃)
110nA Typ. @VDD=1.0V(@+25℃)
●周波数常温偏差:±20ppm以内(@+25℃)(時計精度/1Hz/32.768kHz精度)
●繰返しカウントダウンタイマ/アラーム/毎秒または毎分割込み
●オープンドレインのプログラマブルクロック出力
(32.768kHz/16.384kHz/8.192kHz/4.096kHz/2.048kHz/1.024kHz/1Hz)
●低電圧検出機能
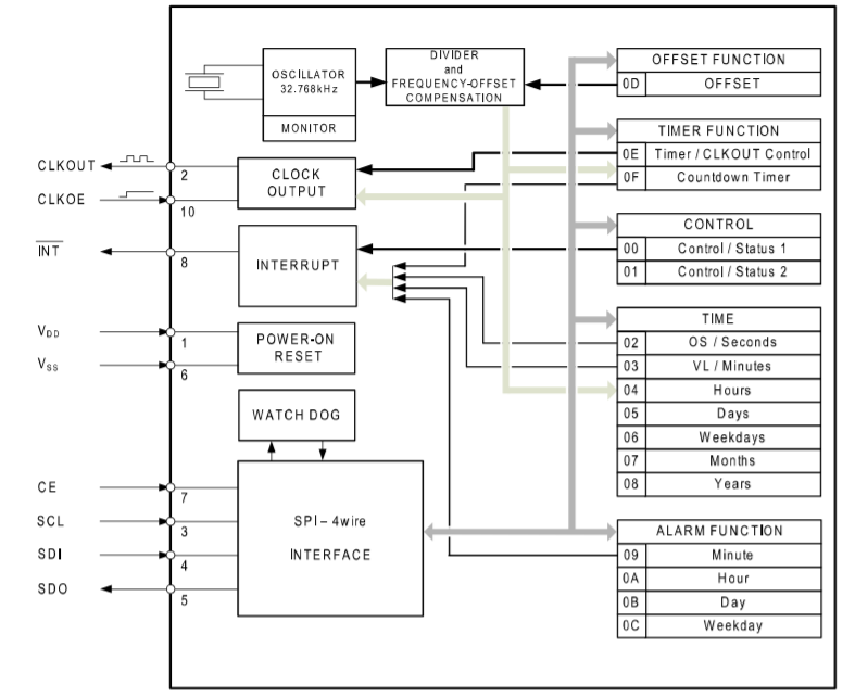
●ブロック図

● 型番指定方法
| ・RV-2123-C2-TA-QC-020 (QC : 一般産業機器用途 /常温偏差:±20ppm) ※ 通常はこちらをご指定下さい。 |
| ・RV-2123-C2-TA-QC-010 (QC : 一般産業機器用途 /常温偏差:±10ppm) |
| ・RV-2123-C2-TA-QA-020 (QA : 車載機器用途/AEC-Q200認証/常温偏差:±20ppm) |
| ・RV-2123-C2-TA-QA-010 (QA : 車載機器用途/AEC-Q200認証/常温偏差:±10ppm) |
※ 設計・開発時にご不明な点がございましたら、お気軽に 弊社のサポート窓口へお問合せ下さい。
● 梱包単位/1,000pcs/1リール または3,000pcs/1リール
●ウェブサイト在庫情報
●(参考)Mouser及び Digikey での表示品番との違いについて
● グリーン調達情報